
周一,资本市场刮起阵阵“涨价风”,有色锌、黄金股、有色铜、小金属、钛白粉……领涨概念无一离不开涨价的催化。
对此,接受CNN采访的一名美国高级别官员表示,并不存在名为“干扰器”的这种武器,特朗普的说法可能是将多种作战能力混为一谈。该官员表示,美军在行动中确实发动了网络攻击,目的是瘫痪委内瑞拉的预警系统和其他防御系统,同时还利用现有的某种声学装备,以干扰地面人员。
炒股就看金麒麟分析师研报,巨擘,专科,实时,全面,助您挖掘后劲主题契机!
88.93%!这是四川明星电力股份有限公司(公司简称:明星电力 股票代码:600101)2025年商场化售电业务的营收增速。
在传统水电业务增长乏力确当下,这份“年度收货单”很是亮眼。动作一家扎根遂宁的老牌电企,明星电力正在告别“靠天吃饭”的单一水电模式,向轮廓动力功绩商全速转型。然则,年报也同期敲响警钟:2026年,非其所属的唐家渡电站投运,将告成冲击自有发电量,且带来的影响具有捏续性。
财报数据深化“机”与“危”
翔云优配3月26日,明星电力发布2025年度讲明。数据夸耀,2025年公司商业收入30.21亿元,同比增长6.29%;归母净利润1.84亿元,同比下落12.02%;基本每股收益0.3361元。公司拟每股派发现款红利0.07元(含税)。
在营收方面,分业务来看,电力坐褥和供应业务孝顺商业收入25.73亿元,同比增长2.10%,占总营收的85.17%,也曾公司营收的中枢开首;建筑施工业务营收3.38亿元,同比增长22.28%;商场化售电功绩营收4106.26万元,同比大增88.93%,成为营收增长的弥留补充。
赫然,暴涨的“新业务”成为这份上百页年报中最大的亮点。然则,年报中的另一组数据一样值得警惕:2025年公司有筹商举止现款流净额为2.2亿元,同比下落32.39%。
金融投资报记者提防到,垒富优配摆在这家地点动力龙头的眼前的,还有一个尽头严峻的施行问题:
年报夸耀,动作区域电力世界功绩企业,明星电力在遂宁市本级、船山区、安堵区供电商场占有率保捏100%,领有网内自有水力发电装机容量11.558万千瓦,多年平均上网电量约5.5亿千瓦时,沿途齐全自愿自销,在同业业中具备显耀的资源上风与运营牢固性。
但值得一提的是,2026年,非明星电力所属的唐家渡电站将投产初始,同期,三星船闸工程缱绻推行。受上述事项共同影响,瞻望明星电力下属4座发电站往时发电量将一定进度下落,其中唐家渡电站投运带来的影响具有捏续性。
据明星电力年报
记者从遂宁市水利局官方微信号获悉,唐家渡电航工程是一座具有城市生态环境改善和建造、防洪、发电和航运等轮廓诈欺的电航工程。水库平方蓄水位285.5米,总库容9880万立方米,电站装机容量装机容量4.2万千瓦,款式总投资40.42亿元,其中外侨投资11.72亿元。款式建成后将扩宽不雅音湖水域面积至30平方公里,对改善遂宁城市生态环境和东谈主居环境具有紧要意旨。
唐家渡电航工程表露图。 据遂宁市水利局官方微信号
老牌电企寻找解围方针
明星电力官网夸耀,公司源于1926年官绅合办的明星电灯公司,1959年建成遂宁县龙凤水电站,1962年8月设立遂宁县龙凤水电厂,1988年3月信四川省东谈主民政府批准进行股份制试点,1988年4月注册设立遂宁电力股份有限公司,注册地为四川省遂宁市。1993年2月改名为四川明星电力股份有限公司。1997年6月27日,经中国证监会批准,在上海证券来回所上市运动。
这家已有百年历史的老牌电企,正试图在传统主业除外寻找新的解围方针。
金融投资报记者提防到,动作一家主营传统电力业务的企业,明星电力在其官网首页,却用不小的篇幅来描摹“其他产业”的河山。
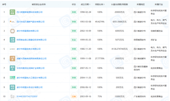
企查查夸耀,其对外投资多达23家企业,其中9家存续。四川明星新动力科技有限公司、四川华润万通燃气股份有限公司、遂宁市明星货仓有限公司、陕西省金盾公路建造投资有限公司、遂宁市明星自来水有限公司等均有一定的捏股比例。
据企查查
适度3月27日收盘,明星电力微涨1.2%,报10.95元/股,总市值迫临60亿元。
| 金融投资报记者 贺梦璐|
海量资讯、精确解读,尽在新浪财经APP
职守剪辑:杨红卜 汇融财通
天元优配信钰配资辉煌优配官网垒富配资星速优配垒富优配提示:文章来自网络,不代表本站观点。